DUTTON LAINSON TREUIL MANUEL NU WG2000 HD (POUR SANGLE)
Treuil manuel à vis sans fin Dutton-Lainson® avec manivelle frontale.
Conçu pour les applications de traction horizontale et de levage vertical.
La poignée de 7 " avec poignée ergonomique peut être facilement fixée ou retirée sans outils.
L'enrouleur de sangle s'arrête automatiquement de tourner à chaque fois que le démarrage est arrêté, bloquant la charge.
Finition noire enduite de poudre, finition TUFFPLATE® zinguée sur la quincaillerie.
L'entraînement hexagonal de 5/8" permet un fonctionnement avec une perceuse électrique accrochée directement à l'arbre d'entraînement pour une vitesse de fonctionnement accrue ( douille pour perceuse non comprise).
La bobine guide a des trous correspondants percés dans chaque plaque latérale pour accepter une sangle de 2 " de large.
Fabriqué aux Etats-Unis.
Complétez malin
Treuil vendu nu.
Compatible avec sangle 2"
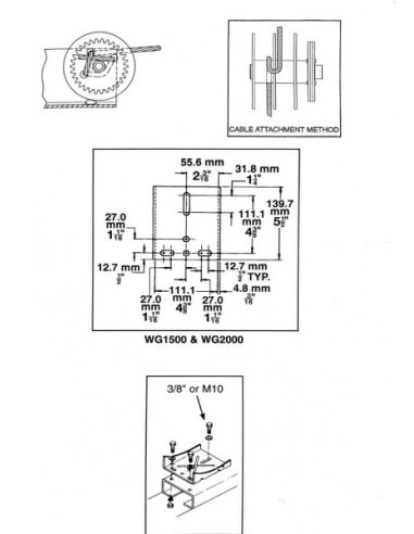
- Dimensions base du treuil : 139,7 x 111,1 mm
- Diamètre des perçages et entraxes de fixation (voir photos)
- Capacité maximale : 2000 lbs (907 kg)
- Capacité maximale de traction d'une charge roulante :
sur une pente de 10° la capacité est de 4535 kg
sur une pente de 25° la capacité est de 1687 kg
sur une pente de 35° la capacité est de 1387 kg



